Zum Hauptinhalt springen Zur Suche springen Zur Hauptnavigation springen

Bohrkonsole - Befestigungsset für Heizkörper mit Laschen

Produkte filtern

Art.-Nr.
Typ
Anzahl
VPE
Stückpreis
590BOR130

Typ
130 mm

Technische Daten

Typ
130 mm
=
1
Stück
590BOR130
130 mm
= 1 Stück

Technische Daten

Typ

130 mm

590BOR160

Typ
160 mm

Technische Daten

Typ
130 mm
=
1
Stück
590BOR160
160 mm
= 1 Stück

Technische Daten

Typ

160 mm

590BOR200

Typ
200 mm

Technische Daten

Typ
130 mm
=
1
Stück
590BOR200
200 mm
= 1 Stück

Technische Daten

Typ

200 mm

Mehrwerte

Verarbeitungshinweise

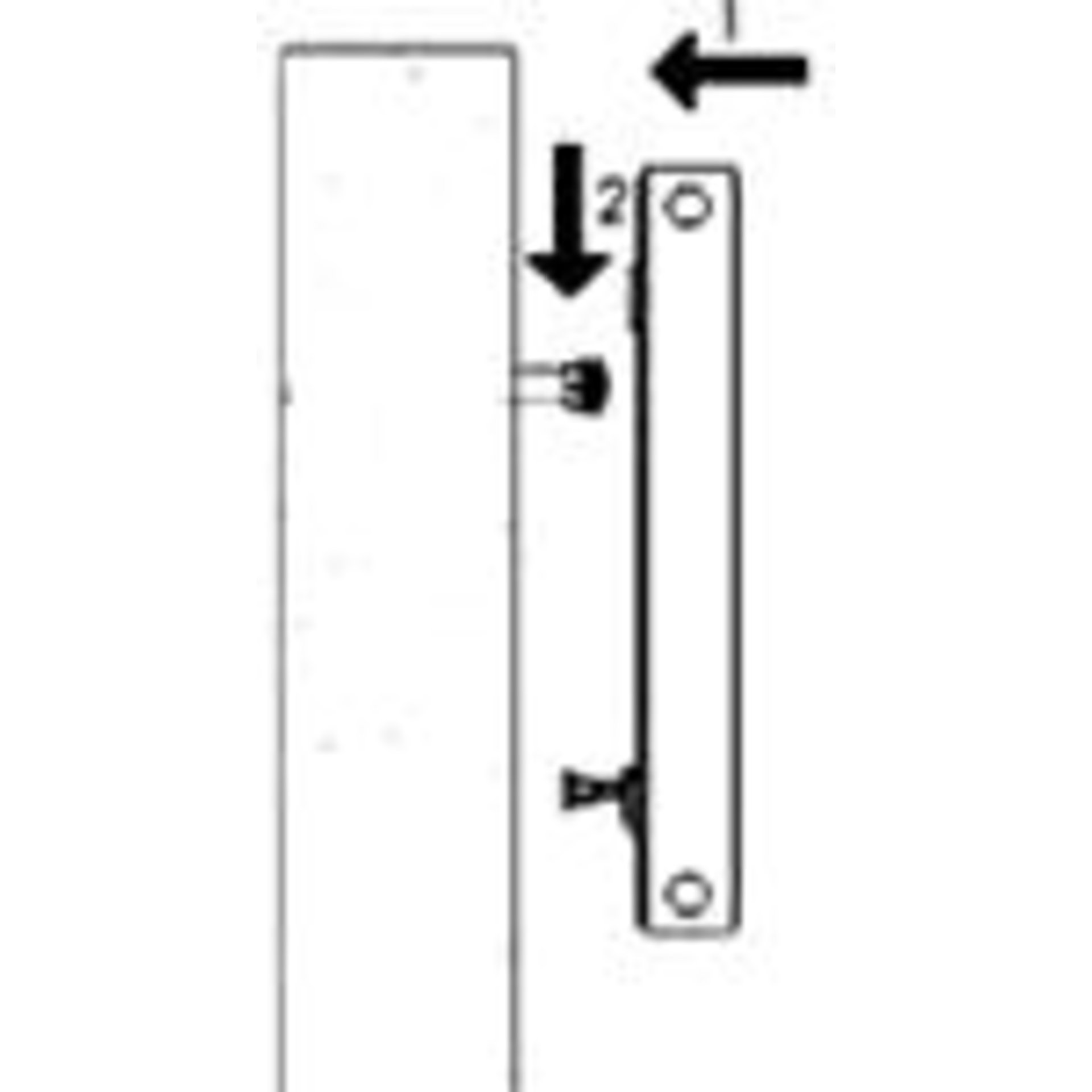
  • Die Konsole trägt den Heizkörper an der oberen Lasche. An der unteren Lasche wird ein Abstandshalter verwendet.
  • Mit der Exenterkonsole kann die Heizkörperhöhe korrigiert werden.

Hinweis

Technische Daten

  • Typ : 130 mm ,

Lieferumfang

  • Set komplett mit: 2 Halter mit SpreizankerExcenterscheibe2 Abstandshalter